| « вернуться к списку продукции 
 4.1     Металлургические и крановые двигатели серии Д
 
 Назначение
 
 • Предназначены для работы в электроприводах грузоподъемных машин, в том числе и металлургических агрегатов.
 • Характеризуются высокой кратностью пусковых и максимальных моментов, широким диапазоном регулирования частоты вращения, а также длительным сроком службы и высокими показателями надежности. Для механизмов с большим числом включений (до 2000 в час), с целью повышения динамических показателей привода и уменьшения расхода энергии, рекомендуется применять тихоходные двигатели с относительно пониженной частотой вращения; для механизмов с числом включений до 300 в час предусмотрены двигатели быстроходного исполнения.
 • Климатическое исполнение — У, УХЛ,Т
 • Группа механических воздействий М3
 • Допустимый уровень вибрации — N
 • Категория размещения 1 или 2
 • Допустимый уровень шума по 1 или 2 классу
 • Двигатели Д806, Д808 отвечают требованиям международного стандарта - Публикация МЭК34-13 (IEC34-13)
 • Класс защиты 01 по электробезопасности, ГОСТ 12.2.0070-75
 
 Классификация
 
 Двигатели серии Д подразделяются:
 
 По частоте вращения:
 - Тихоходное исполнение типа Д12, 21, 22, 31, 32, 41, 806, 808
 - Быстроходное исполнение типа Д21, 22, 31, 32, 41, 806, 808
 По номинальному напряжению:
 - 220 В - все типы
 - 440 В - двигатели тихоходного исполнения типа Д21, 31, 41, 808
 - двигатели быстроходного исполнения типа Д22, 32, 806
 - Возможны исполнения двигателей на другое номинальное напряжение.
 По способу возбуждения:
 - Последовательное
 - Параллельное со стабилизирующей обмоткой
 - Параллельное
 - Смешанное
 По форме исполнения и расположению вала по ГОСТ 2479-79 (см. рис. 4.1.2-4.1.6):
 Концы валов - цилиндрические :
 IM1001, IM1002 - Д12, 21, 22, 31, 32
 IM2001, IM2002 - Д12, 21, 22, 31,32 Концы валов - конические:
 IM1003, IM1004 - Д41, 806, 808
 IM2003, IM2004 - Д41, 806, 808
 IM3011, IM3012 - Д12, 21, 22, 31, 32
 M3013, IM3014 - Д41, 806, 808 Двигатели типа Д12, Д21, Д22 горизонтального исполнения с одним концом вала могут работать в вертикальном положении концом вала вниз.
 По степени защиты от внешнего воздействия:
 - Защищенное - IP23
 - Закрытое - IP44 или IP54
 - Степень защиты клеммной коробки (при ее наличии) - IP56
 По способу охладжения:
 - С независимой вентиляцией IC16, IC17 (ГОСТ20459-87)
 - С естественной вентиляцией IC40 (ГОСТ20459-87)
 
 Основные технические данные
 • Основные электромеханические параметры всех двигателей климатического исполнения У и УХЛ приведены в табл. 4.1.1 - 4.1.3, двигателей исполнения Т - в табл. 4.1.4.
 • Допустимое значение вибрации 2,8 мм/с - для двигателей типа Д12 - Д32; 4,5 мм/с - для Д41 - Д806 (3,5 мм/с по отдельным заказам, в том числе для экспорта).
 • Средний уровень звука не превышает 1 класса, а для экспорта и по отдельным заказам - 2 класса.
 • Класс изоляции двигателей - Н, ГОСТ 8865-93.
 • Величина тока двигателей закрытого исполнения с естественным охлаждением в кратковременном режиме 30 мин составляет ~120% значения тока кратковременного режима 60 мин.
 • Величина тока двигателей закрытого исполнения с независимой вентиляцией в повторно-кратковременном режиме составляет:
 - при ПВ=60% около 125%,
 - при ПВ=40% около 150% тока продолжительного режима ПВ=100%, приведенного в табл. 4.1.1.
 • Зависимость мощности закрытых тихоходных двигателей от величины ПВ показана на рис. 4.1.1. Характер зависимости быстроходных двигателей - аналогичный. Точные численные значения мощности двигателей при ПВ=40% приведены в табл. 4.1.2 и 4.1.4.
 • Параллельные обмотки двигателей со смешанным и параллельным возбуждением рассчитаны на продолжительную работу и могут не отключаться во время остановки двигателя.
 Они состоят из двух групп, и в зависимости от соединения, могут включаться на напряжение 220 или 110 В (220 В - последовательно, 110 В - параллельно).
 В двигателях на напряжение 440 В группы параллельных обмоток соединяются последовательно и включаются через добавочное сопротивление.
 • При напряжении 220 В допускается последовательное соединение двух одинаковых двигателей и включение их на напряжение до 660 В без заземления средней точки.
 • Допускается питание двигателей от регулируемых статических выпрямителей, соединенных по схеме шестиплечного моста без применения сглаживающих дросселей. Пульсация тока до 12-15 %, практически не сказывается на коммутации и нагреве двигателей.
 • Допускается использование обмотки параллельного (независимого) возбуждения в режиме S1 при включении на полное или пониженное напряжение для двигателей в периоды длительной стоянки. Это позволяет поддерживать высокий уровень сопротивления изоляции в условиях высокой влажности, предотвращает обледенение коллектора в условиях холодного климата.
 
 Регулирование частоты вращения двигателей
 Регулирование частоты вращения двигателя осуществляется ослаблением магнитного потока или повышением напряжения на якоре.
 Увеличение номинальной частоты вращения допускается:
 • уменьшением тока в параллельной обмотке возбуждения для двигателей с параллельным возбуждением и с параллельным возбуждением со стабилизирующей обмоткой - в 2 раза;
 • для тихоходного исполнения с параллельным возбуждением со стабилизирующей обмоткой - в 2,5 раза.
 При указанных увеличениях частоты вращения допускается максимальный вращающий момент:
 - 80% от номинального - при напряжении 220 В;
 - 64% от номинального - при напряжении 440 В.
 • повышением приложенного напряжения для двигателей с параллельным возбуждением и с параллельным возбуждением со стабилизирующей обмоткой на напряжение 220 В - в 2 раза.
 Максимальный вращающий момент при таких частотах и полном возбуждении допускается не более 150% номинального.
 • с параллельным возбуждением и с параллельным возбуждением со стабилизирующей обмоткой за счет уменьшения тока возбуждения и повышения напряжения - в 2 раза;
 • с последовательным и смешанным возбуждением как за счет ослабления магнитного потока, так и повышения напряжения - в 2 раза.
 Двигатели на 220 В допускают работу, при увеличенной в 2 раза номинальной частоте вращения, путем повышения напряжения или ослаблением магнитного потока, только в следующих номинальных режимах:
 - кратковременный 60 мин - для закрытого исполнения;
 - продолжительный ПВ=100% - для защищенного исполнения с независимой вентиляцией. Другие режимы работы двигателей определяются по согласованию с Поставщиком.
 Для определения максимальных вращающих моментов двигателей при трогании с места и частоте вращения не выше 20% номинальной, значения максимальных вращающих моментов, приведенных в табл. 4.1.1, увеличиваются в зависимости от способа возбуждения:
 - последовательного - на 25%;
 - смешанного или параллельного со стабилизирующей обмоткой - на 20%;
 - параллельного - на 10%.
 
 Особенности конструкции
 • Выводы обмоток расположены на станине с левой стороны, если смотреть со стороны коллектора, по требованию Заказчика - с правой стороны. Возможна установка защитного кожуха над выводами.
 • По желанию Заказчика двигатели могут изготавливаться: с пристроенным тахогенератором, с клеммной коробкой, с полумуфтой для пристройки тахогенератора типа ТП.
 • Двигатели конструктивно универсальные по способу охлаждения, при этом вентиляционные окна входа и выхода воздуха закрыты, в стадии поставки, крышами. При работе двигателей с независимой вентиляцией крышки на окнах входа и выхода воздуха снимают, окна выхода воздуха остаются защищенными металлическими сетками, а охлаждающий воздух должен поступать через верхний или нижний люк со стороны коллектора.
 • Двигатели Д31 - Д808 могут поставляться с вентилятором-"наездником" типа ВВР. Остальные типоразмеры с вентилятором-"наездником" - по особому заказу Потребителя.
 • Двигатели изготавливаются с двумя свободными концами вала, из которых каждый может использоваться как приводной.
 Конец вала со стороны коллектора снабжается защитным металлическим колпаком.
 По желанию Заказчика двигатель может изготавливаться с одним свободным концом вала, расположенным
 со стороны, противоположной коллектору.
 • Соединение двигателей с приводными механизмами осуществляется муфтами или зубчатыми передачами.
 • Габаритные и установочно-присоединительные размеры даны на рис.4.1.2. - 4.1.9.
 
 
 Примечания: Скачать - Таблица № 4.1.1 «Двигатели закрытые с естественным  охлаждением в кратковременном режиме 60 мин. и защищенные, с независимой  вентиляцией в продолжительном режиме S1 (ПВ = 100%)
 1.  Рекомендуется использовать табл. 4.1.1 при выборе и заказе двигателей.
 2.  Данные кратковременного режима 60 мин и продолжительного режима S1 являются номинальными и одинаковыми (охлаждение разное).
 
 ТАБЛИЦА 4.1.2 ДВИГАТЕЛИ ЗАКРЫТЫЕ С ЕСТЕСТВЕННЫМ ОХДЛАЖДЕНИЕМ, РЕЖИМ РАБОТЫ ПОВТОРНО-КРАТКОВРЕМЕННЫЙ ПВ=40%
 
 
       
         |   Исполнение |   Тип    двигателя |   Высота оси    вращения h, мм | Возбуждение |  
         |   Последовательное |   Смешанное |   Параллельное    со стабилизирующей обмоткой |   Параллельное |  
         |   Мощность,    кВт |   Ток, А |   Частота    вращения, об/мин |   Мощность,    кВт |   Ток, А |   Частота    вращения, об/мин |   Мощность,    кВт |   Ток, А |   Частота    вращения, об/мин |   Мощность,    кВт |   Ток, А |   Частота    вращения, об/мин |  
         | Напряжение    220 В |  
         | Тихоходное | Д12Д21
 Д22
 Д31
 Д32
 Д41
 Д806
 Д808
 | 160180
 180
 225
 225
 250
 250
 280
 | 2,43,6
 4,8
 6,8
 9,5
 13
 17
 24
 | 1522
 28
 38,5
 53
 71
 92
 125
 | 11501040
 970
 900
 760
 730
 640
 615
 | 2,43,6
 4,8
 6,8
 9,5
 13
 17
 24
 | 1421
 27
 37
 51
 70
 88
 124
 | 12301140
 1120
 910
 840
 740
 730
 650
 | 2,43,6
 4,8
 6,8
 9,5
 13
 16
 22
 | 1420,5
 26
 37
 51
 69,5
 84
 112
 | 12001060
 1120
 850
 770
 700
 700
 620
 | 2,43,6
 4,8
 6,8
 9,5
 13
 16
 22
 | 1420,5
 26
 37
 51
 69,5
 84
 112
 | 12301080
 1150
 880
 800
 720
 710
 630
 |  
         | Быстроходное | Д21Д22
 Д31
 Д32
 Д41
 Д806
 Д808
 | 180180
 225
 225
 250
 250
 280
 | 4,46,5
 9,5
 13,5
 18
 23
 30
 | 2637
 52,5
 72
 96
 120
 155
 | 13401300
 1190
 1100
 1060
 1010
 850
 | 4,46,5
 9,5
 13
 18
 23
 30
 | 2536
 51
 66
 95
 118
 152
 | 15501475
 1360
 1200
 1160
 1060
 860
 | 4,46,5
 9,5
 13
 17,5
 21
 26
 | 24,534
 50,5
 68
 90,5
 110
 134
 | 14601510
 1360
 1190
 1120
 1050
 810
 | 4,46,5
 9,5
 13
 17,5
 21
 26
 | 24,534
 50,5
 68
 90,5
 110
 134
 | 15001570
 1420
 1240
 1160
 1060
 825
 |  
         | Напряжение    440 В |  
         | Тихоходное |   Д21Д31
 Д41
 Д808
 |   180225
 250
 280
 |   3,15,2
 12,5
 24
 |   1016
 34,5
 63
 |   1230900
 760
 615
 |   3,25,3
 13
 -
 |   1015,5
 35
 -
 |   1310900
 740
 -
 |   3,15,2
 12,5
 22
 |   9,514,5
 34
 56
 |   1280890
 710
 620
 |   3,15,2
 12,5
 22
 |   9,514,5
 34
 56
 |   1300910
 720
 630
 |  
         | Быстроходное |   Д22Д32
 Д806
 |   180225
 250
 |   5,612,6
 23
 |   16,534
 60
 |   13001200
 1010
 |   5,511,5
 -
 |   1633
 -
 |   15301260
 -
 |   5,612
 21
 |   15,531,5
 55
 |   15101200
 1050
 |   5,612
 21
 |   15,531,5
 55
 |   15501240
 1060
 |  
 ТАБЛИЦА 4.1.3 РОЛЬГАНГОВЫЕ ДВИГАТЕЛИ ПАРАЛЛЕЛЬНОГО ВОЗБУЖДЕНИЯ С ПОНИЖЕННОЙ ЧАСТОТОЙ ВРАЩЕНИЯ (КРОМЕ Д32*)
 
 
       
         | Тип    двигателя | Высота оси    вращения h, мм |   Исполнение    по способу охлаждения |   Режим    работы |   Мощность,    кВт |   Напряжение,    В |   Ток, А |   Частота    вращения, об/мин |   Максимальная    частота вращения, об/мин |   Количество    охлаждающего воздуха м3/мин |   Статический    напор, Па |   Момент    инерции, кг м2 |  
         | Д32* | 225 | закрытое | ПВ = 100% | 5,5 | 220 | 30 | 1260 | 2600 | - | - | 0,425 |  
         | Д32 | 225 | продуваемое  | ПВ = 100% | 3,2 | 110 | 46 | 225 | 2600 | 7,0 | 294 | 0,425 |  
         | Д808 | 280 | закрытое | 60 мин | 10,0 | 220 | 60 | 180 | 1000 | - | - | 2 |  
         | Д808 | 280 | закрытое | 60 мин | 20,0 | 440 | 54 | 400 | 1000 | - | - | 2 |  
         | Д808 | 280 | закрытое | ПВ = 40% | 8,0 | 220 | 47 | 195 | 1000 | - | - | 2 |  
         | Д808 | 280 | закрытое | ПВ = 40% | 16,0 | 440 | 42 | 425 | 1000 | - | - | 2 |  
         | Д808 | 280 | продуваемое | ПВ = 100% | 10,0 | 220 | 60 | 180 | 1000 | 13,0 | 343 | 2 |  
         | Д808 | 280 | продуваемое | ПВ = 100% | 20,0 | 440 | 54 | 400 | 1000 | 13,0 | 343 | 2 |  Габаритные, установочные, присоединительные размеры и масса двигателей указаны на рис. 4.1.9.
 
 
  СКАЧАТЬ - ТАБЛИЦА 4.1.4 ДВИГАТЕЛИ ТРОПИЧЕСКОГО ИСПОЛНЕНИЯ 
 
 Примечание: При температуре окружающей среды от 400 до 600 С мощность двигателей снижается на 1,5% на каждый градус повышения температуры. В таблице приведены мощности двигателей при температуре окружающей среды 450 С.
 
 
  Рис. 4.1.1 Зависимость мощности закрытых тихоходных двигателей на напряжение 220 В от продолжительности включения.
 
 
 
  Рис. 4.1.2 Габаритные, установочные, присоединительные размеры и масса горизонтальных двигателей Д12 - Д808 на лапах. Формы исполнения IM1001,
     IM1002, IM1003, IM1004.
 
 
       
         | Тип двигателя |   h, мм | Размеры,    мм | Форма    исполнения | Масса, кгне более
 |  
         | b10 | b11  | b31  | d1  | d3  | d5  | d10  | d30  | h31  | l10  | l3  | l10  | l11  | l30  | l31  | l33  | l55  |  
         | Д12 | 160 | 280 | 330 | 185 | 28 | - | - | 19 | 305 | 323 | 60 | - | 220 | 280 | 561 | 115,0 | 644 | 654 |     IM 1001IM 1002
 | 120 |  
         | Д21 | 180 | 300 | 350 | 215 | 35 | - | - | 19 | 361 | 373 | 80 | - | 194 | 244 | 665 | 170,5 | 774 | 784 | 190 |  
         | Д22 | 180 | 300 | 350 | 215 | 35 | - | - | 19 | 361 | 373 | 80 | - | 239 | 289 | 710 | 170,5 | 819 | 829 | 215 |  
         | Д31 | 225 | 390 | 460 | 250 | 50 | - | - | 26 | 432 | 453 | 110 | - | 250 | 310 | 752 | 173,0 | 896 | 906 | 290 |  
         | Д32 | 225 | 390 | 460 | 250 | 50 | - | - | 26 | 432 | 453 | 110 | - | 320 | 380 | 822 | 173,0 | 966 | 976 | 345 |  
         | Д41 | 250 | 430 | 530 | 305 | 65 | 61,5 | М42х3-8g  | 32 | 490 | 508 | 105 | 70 | 299 | 379 | 910 | 209,0 | 1050 | 1059 |   IM 1003IM 1004
 | 500 |  
         | Д806 | 250 | 420 | 508 | 305 | 65 | 61,5 | M42x3-8g | 32 | 490 | 508 | 105 | 70 | 533 | 613 | 930 | 165,0 | 1073 | 1082 | 595 |  
         | Д808 | 280 | 476 | 560 | 335 | 80 | 75,5 | M56x4-8g | 32 | 550 | 562 | 130 | 90 | 628 | 710 | 1047 | 159,0 | 1206 | 1213 | 870 |  
 
  Рис. 4.1.3 Габаритные, установочные, присоединительные размеры и масса горизонтально-фланцевых на лапах двигателей Д12 - Д808. Формы исполнения
     IM2001, IM2002, IM2003, IM2004.
 Остальные габаритные, установочные и присоединительные размеры см. рис.4.1.2.
 
 
 
       
         |   Тип    двигателя |   h`, мм | Размеры,    мм | Форма    исполнения | Масса, кгне более
 |  
         | d10 | d22  | d24  | d25  | l20  | l21  | l39  | l55 |  
         | Д12 | 160 | 300 | 19 | 350 | 250 | 5 | 14 | 0 | 654 | IM 2001IM 2002
 | 140 |  
         | Д21 | 180 | 350 | 19 | 400 | 300 | 5 | 18 | 0 | 784 | 220 |  
         | Д22 | 180 | 350 | 19 | 400 | 300 | 5 | 18 | 0 | 829 | 245 |  
         | Д31 | 225 | 500 | 19 | 550 | 450 | 5 | 20 | 0 | 906 | 325 |  
         | Д32 | 225 | 500 | 19 | 550 | 450 | 5 | 20 | 0 | 976 | 380 |  
         | Д41 | 250 | 500 | 19 | 550 | 450 | 5 | 22 | 0 | 1059 | IM 2003IM 2004
 | 565 |  
         | Д806 | 250 | 500 | 19 | 550 | 450 | 5 | 22 | 0 | 1082 | 660 |  
         | Д808 | 280 | 600 | 24 | 660 | 550 | 6 | 22 | 0 | 1213 | 915 |  
 
  Рис. 4.1.4 Габаритные, установочные, присоединительные размеры и масса вертикально-фланцевых двигателей Д12 - Д808. Формы исполнения IM3011,
     IM3012, IM3013, IM3014.
 1. Остальные габаритные, установочные
 и присоединительные размеры см. рис. 4.1.2.
 2. h? -условная высота оси вращения, ГОСТ 13267-73.
 
 
 
       
         |   Тип    двигателя |   h`, мм | Размеры,    мм | Форма    исполнения | Масса, кгне более
 |  
         | d10 | d22  | d24  | d25  | l20  | l21  | l39  | l55 |  
         | Д12 | 160 | 300 | 19 | 350 | 250 | 5 | 14 | 0 | 654 | IM 3011IM 3012
 | 140 |  
         | Д21 | 180 | 350 | 19 | 400 | 300 | 5 | 18 | 0 | 784 | 220 |  
         | Д22 | 180 | 350 | 19 | 400 | 300 | 5 | 18 | 0 | 829 | 245 |  
         | Д31 | 225 | 500 | 19 | 550 | 450 | 5 | 20 | 0 | 906 | 325 |  
         | Д32 | 225 | 500 | 19 | 550 | 450 | 5 | 20 | 0 | 976 | 380 |  
         | Д41 | 250 | 500 | 19 | 550 | 450 | 5 | 22 | 0 | 1059 | IM 3013IM 3014
 | 565 |  
         | Д806 | 250 | 500 | 19 | 550 | 450 | 5 | 22 | 0 | 1082 | 660 |  
         | Д808 | 280 | 600 | 24 | 660 | 550 | 6 | 22 | 0 | 1213 | 915 |  
 
 
   Рис 4.1.5 Габаритные, установочные, присоединительные размеры и масса двигателей Д12 - Д808 с пристроенным тахогенератором типа ТМГ-30 (П).
 Остальные габаритные, установочные и присоединительные размеры см. рис. 4.1.2 - 4.1.4.
 
 
       
         | Тип    двигателя | h или h’, мм | РазмерL90, мм
 | Масса    двигателя, кг,не более,    при форме исполнения
 |  
         | IM1001IM1003
 | IM 2001IM 2003
 | IM 3011IM 3012
 | IM 3013IM 3014
 |  
         | Д12 | 160 | 741 | 135 | 145 | 140 | - |  
         | Д21 | 180 | 875 | 205 | 225 | 215 | - |  
         | Д22 | 180 | 920 | 230 | 250 | 240 | - |  
         | Д31 | 225 | 962 | 315 | 330 | 320 | - |  
         | Д32 | 225 | 1032 | 370 | 400 | 375 | - |  
         | Д41 | 250 | 1120 | 545 | 570 | - | 555 |  
         | Д806 | 250 | 1140 | 640 | 680 | - | 645 |  
         | Д808 | 280 | 1257 | 899 | 920 | - | 905 |  
 
 
  
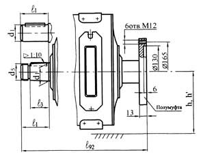
 Рис. 4.1.6 Габаритные, установочные, присоединительные размеры и масса двигателей Д12 - Д808 с полумуфтой для пристройки тахогенератора типа ТП.
 Остальные габаритные, установочные и присоединительные размеры см. рис.4.1.2 - 4.1.3.
 
 
       
         | Тип    двигателя | h или
 h’, мм
 | РазмерL92, мм
 | Масса    двигателя, кг,не более,    при форме
 исполнения
 |  
         | IM 1001IM 1003
 | IM 2001IM 2003
 |  
         | Д12 | 160 | 596,0 | 125 | 145 |  
         | Д21 | 180 | 693,5 | 195 | 225 |  
         | Д22 | 180 | 738,5 | 220 | 250 |  
         | Д31 | 225 | 783,0 | 295 | 330 |  
         | Д32 | 225 | 853,0 | 350 | 385 |  
         | Д41 | 250 | 934,5 | 505 | 570 |  
         | Д806 | 250 | 958,5 | 600 | 665 |  
         | Д808 | 280 | 1073,0 | 880 | 925 |  
 
  Рис. 4.1.7 Двигатели горизонтального исполнения c клеммной коробкой.
 
 1. Форму и размеры конца вала, а также габаритные, установочные, присоединительные размеры двигателей см. рис. 4.1.2, на котором масса двигателей указана без коробки.
 2. Показанные пунктиром положения сальников и клеммной коробки -при указании в заказе.
 3. Возможны исполнения двигателей по рис. 4.1.3 - 4.1.6 с клеммной коробкой по данному рис. 4.1.7.
 
 
       
         | Тип    двигателя | h, мм | Размеры,    мм | Кол-воотв.
 | Массакоробки,
 кг
 |  
         | b31 | b33 | b34 | d33 | d36 | h31 | h34 | l36 | n1 | n2 |  
         | Д12 | 160 | 235 | 191 | 160 | 16 | - | 395 | 42 | 264 | 6 | - | 4,2 |  
         | Д21 | 180 | 275 | 219 | 160 | - | 455 | 62 | 264 | 6 | - | 4,2 |  
         | Д22 | 180 | 275 | 230 | 160 | 22 | 455 | 59 | 335 | 2 | 4 | 4,7 |  
         | Д31 | 225 | 316 | 266 | 160 | 541 | 104 | 335 | 2 | 4 | 4,7 |  
         | Д32 | 225 | 316 | 266 | 160 | 541 | 104 | 335 | 2 | 4 | 4,7 |  
         | Д41 | 250 | 375 | 290 | 181 | 625 | 119 | 376 | 2 | 4 | 7,8 |  
         | Д806 | 250 | 375 | 290 | 181 | 625 | 119 | 376 | 2 | 4 | 7,8 |  
         | Д808 | 280 | 409 | 325 | 182 | 28 | 689 | 136 | 497 | 2 | 4 | 10,0 |  
 
  Рис. 4.1.8 Двигатели горизонтального исполнения с вентилятором-"наездником" типа ВВР.
 Форму и размеры конца вала, а также габаритные, установочные и присоединительные размеры двигателей см. рис. 4.1.2, на котором масса двигателей указана без ВВР. Возможно исполнение двигателей с ВВР по рис. 4.1.3, а также по рис. 4.1.4 без переходника.
 
 
       
         | Тип    двигателя | Размеры,    мм | Масса ВВР,не более,    кг
 |  
         | h | h31max |  
         | Д31, Д32 | 225 | 913 | 40 |  
         | Д41 | 250 | 967 |  
         | Д806 | 250 | 967 |  
         | Д808 | 280 | 1030 |  
 
  Рис. 4.1.9 Габаритные, установочные, присоединительные размеры и масса двигателей Д12 - Д808 с пониженной частотой вращения (рольганго вых).
 
 
       
         | Тип    двигателя | h, мм | Размеры,    мм | Форма    исполнения | Масса, кгне более
 |  
         | b10 | b11 | b12 | d1 | d3 | d5 | d7 | d10 | d30 | l1 | l3 | l10 | l11 | l12 | l30 | l31 | l33 | l55 |  
         | Д32 | 225 | 390 | 460 | 90 | 50 | - | - | - | 26 | 432 | 110 | - | 320 | 380 | 75 | 8902 | 173 | - | 976 | IM 1001 | 362 |  
         | Д808 | 280 | 476 | 560 | 120 | 80 | 75,5 | М56х4-8g  | 98 | 32 | 550 | 130 | 90 | 628 | 710 | 90 | 1115 | 159 | 1206 | 1213 | IM 1003, IM 1004 | 870 |  
 |